[로이슈 전여송 기자] 의료 AI 1호 상장기업 제이엘케이(대표 김동민)는 자사가 개발한 인공지능 학습원천 기술의 국내 기술 특허 취득에 성공했다고 9일 밝혔다.
특허청에 따르면 제이엘케이가 출원한 '정규화된 합성곱 신경망 시스템 및 합성곱 신경망 정규화 방법'은 이달 기술 특허 등록이 최종 결정됐다. 제이엘케이는 이번 특허 결정으로 의료 인공지능 솔루션 전문 기업으로의 입지를 다시 한번 인정받게 됐다.
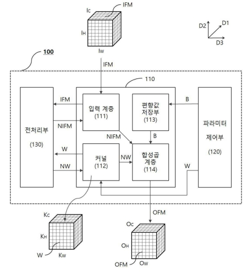
'정규화된 합성곱 신경망 시스템 및 합성곱 신경망 정규화 방법'은 인공신경망을 나타내는 행렬에 정규화 방법론을 적용해 학습 성능과 효율성을 높일 수 있는 새로운 수학적 방법론이다.
회사 측은 이 방법론을 통해 의료 영상과 같이 픽셀 정보가 다양한 빅데이터 영상을 인공지능이 더욱 효율적이고 정확하게 학습하는 데 큰 도움을 줄 것으로 기대했다.
방법론은 합성곱 신경망에서 손실 함수의 기울기 값과 가중치의 갱신 경로의 변동을 감소시키는 정규화된 합성곱 신경망 시스템을 제공하는 것을 골자로 한다. 이를 통해 검증 데이터를 입력했을 때의 출력 데이터와 정답 데이터 사이의 오차를 줄여, 궁극적으로는 인공지능의 정확도를 높일 수 있다.
제이엘케이 김동민 대표는 “정규화된 합성곱 신경망 시스템 및 합성곱 신경망 정규화 방법으로 제이엘케이의 인공지능 원천 기술 역량을 다시금 검증받게 됐다"며 "의료 AI 전문 기업이라는 명성에 걸맞게 인공지능 기술력 향상에 집중해 양질의 솔루션을 개발하는 데 주력하겠다"고 말했다.
전여송 로이슈(lawissue) 기자 arrive71@lawissue.co.kr
제이엘케이, ‘인공지능 학습 원천 기술’ 특허 획득
기사입력:2024-08-09 17:00:02
<저작권자 © 로이슈, 무단 전재 및 재배포 금지>
로이슈가 제공하는 콘텐츠에 대해 독자는 친근하게 접근할 권리와 정정ㆍ반론ㆍ추후 보도를 청구 할 권리가 있습니다.
메일:law@lawissue.co.kr / 전화번호:02-6925-0217
메일:law@lawissue.co.kr / 전화번호:02-6925-0217
주요뉴스
핫포커스
투데이 이슈
투데이 판결 〉
베스트클릭 〉
주식시황 〉
| 항목 | 현재가 | 전일대비 |
|---|---|---|
| 코스피 | 6,244.13 | ▼63.14 |
| 코스닥 | 1,192.78 | ▲4.63 |
| 코스피200 | 933.34 | ▼10.68 |
가상화폐 시세 〉
| 암호화폐 | 현재가 | 기준대비 |
|---|---|---|
| 비트코인 | 96,268,000 | ▼33,000 |
| 비트코인캐시 | 683,000 | ▲5,000 |
| 이더리움 | 2,838,000 | ▼5,000 |
| 이더리움클래식 | 12,660 | ▼40 |
| 리플 | 1,984 | ▼8 |
| 퀀텀 | 1,340 | ▼1 |
| 암호화폐 | 현재가 | 기준대비 |
|---|---|---|
| 비트코인 | 96,344,000 | ▲100,000 |
| 이더리움 | 2,841,000 | ▼4,000 |
| 이더리움클래식 | 12,710 | ▲20 |
| 메탈 | 412 | ▲1 |
| 리스크 | 186 | ▼1 |
| 리플 | 1,987 | ▼7 |
| 에이다 | 411 | 0 |
| 스팀 | 90 | ▼0 |
| 암호화폐 | 현재가 | 기준대비 |
|---|---|---|
| 비트코인 | 96,320,000 | ▲30,000 |
| 비트코인캐시 | 684,000 | ▲5,000 |
| 이더리움 | 2,837,000 | ▼2,000 |
| 이더리움클래식 | 12,650 | ▼30 |
| 리플 | 1,984 | ▼8 |
| 퀀텀 | 1,352 | 0 |
| 이오타 | 100 | 0 |









